Задний фон шапки сайта

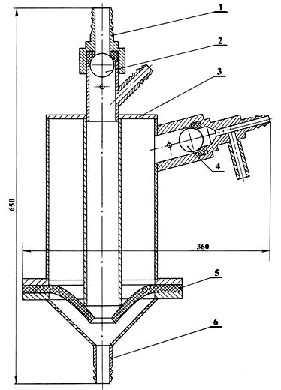
Блок отправки проб БОП-4

Блок отправки проб БОП-4

Блок отправки проб «БОП-4» предназначен для накопления проб пульпы и передачи усредненной пробы на расстояние до 250 м.

Область применения

Блок отправки проб может использоваться как самостоятельное изделие, так и в  автоматизированных системах  аналитического анализа пульпы в потоке (АСАПП) на обогатительных фабриках цветной металлургии и других отраслях промышленности.

Принцип действия

Основан на транспортировке проб пульпы сжатым воздухом по трубопроводам.

Достоинства и преимущества

  • Отсутствие движущихся деталей.

  • Удобство в обслуживании.

  • Простота в эксплуатации. 

Пробоотборное устройство ПРО-11П

Пробоотборное устройство
ПРО-11П

Пробоотборник вакуумный ПРО-28

Пробоотборник вакуумный
ПРО-28

Пробоотборник ПАТ-800

Пробоотборник ПАТ-800

Пробоотборник ПРО-26

Пробоотборник ПРО-26

Пробоотборник хвостовой автоматический ХАП-1800

Пробоотборник
хвостовой автоматический ХАП-1800

Виброакустический анализатор ВАЗМ-1М

Виброакустический
анализатор ВАЗМ-1М

Виброакустический анализатор ВАЗМ−1М (далее ВАЗМ-1М) предназначен для оперативного контроля загрузки (технологической нагрузки) мельниц различного типа и другого технологического оборудования на основе комплексного анализа виброакустических сигналов и прогнозирования момента перехода мельниц (и другого оборудования) в перегрузочный режим.

АСАК-ПРО

АСАК-ПРО

АСАК-ПРО — это высокотехнологичная система, предназначенная отбора, доставки, подготовки проб для экспрес‑контроля элементного состава промышленных продуктов в режиме реального времени. Основной задачей АСАК-ПРО является оперативный мониторинг параметров технологического процесса на обогатительных и гидрометаллургических предприятиях.

Установка ПИК-074П

Установка ПИК-074П

Установка ПИК-074П — это инновационное устройство для непрерывного автоматического контроля гранулометрического состава потоков пульповых продуктов, транспортируемых по трубопроводам и желобам. Прибор позволяет точно измерять размер частиц и контролировать качество измельчения материалов в реальном времени. Гранулометр незаменим для оптимизации технологических процессов на промышленных предприятиях.

Радиоизотопный преобразователь РП-24 (ПЛОТНОМЕР)

Радиоизотопный
преобразователь РП-24 (ПЛОТНОМЕР)

Радиоизотопный преобразователь РП-24 предназначен для преобразования информации о различных характеристиках объекта контроля в параметры выходного сигнала прибора путем использования результатов взаимодействия ионизирующего излучения с объектом контроля. Выпускается в общепромышленном и взрывозащищенном исполнении.